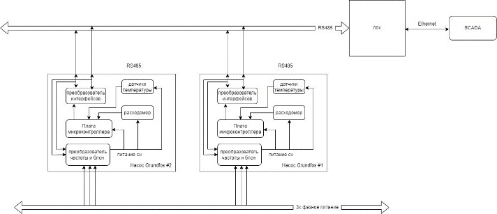
Автоматизация производственных процессов

Описание: Автоматизация производственных процессов с использованием собственного программного обеспечения и промышленных контроллеров ОВЕН: сбор, хранение, обработка и представление данных о температуре, давлении, электрических параметрах. Представляем полный комплекс работ от выбора оборудования, датчиков, контроллеров до выбора интерфейса рабочего места оператора. Используемые системы и ПО: ПЛК ОВЕН, OwenCloud, CoDeSys, языки программирования верхнего уровня Python, C#. 
Внедрение таких систем позволяет снизить влияние человеческого фактора в производственном процессе и вероятность возникновения аварийных режимов функционирования котла, повысить экологические характеристики котельной и культуру производственного процесса.

Зарубежные и отечественные аналоги: автоматизированные системы на основе зарубежных контроллеров Siemens (Германия).

Конкурентные преимущества: собственные чертежи печатных плат и принципиальные схемы, элементная база, ПО собственной разработки. 

Контактная информация: Рыбаков Алексей Владимирович – канд. физ.-мат. наук, директор физико-математического института АГУ
8 (8512) 24-66-41
rybakov_alex@mail.ru 

Автоматизация производственных процессов